
全國免費客服電話 18268652722 郵箱:www.jungshuodz@163.com
手機:18268652722
電話:18268652722
地址:寧波市北侖區大碶廟前山路45號
人氣:

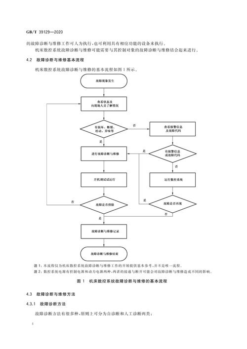
數控系統已成為現代工業中不可或缺的重要設備,然而,故障維修依然是工程師們頭痛的難題。本文將為您詳細介紹數控系統故障維修的關鍵步驟與技巧,幫助您解決疑難問題。
為了更好地進行數控系統故障維修,首先需要識別和確認故障。在日常維護中,對設備進行定期巡檢非常重要。一旦出現故障,及時觀察系統哪個部分出現異常,記錄故障現象和相關數據,以便后續的分析與解決。
在確認故障后,關鍵的一步是排除硬件問題。一般來說,數控系統故障主要源自于計算機、電源、傳感器以及執行器等硬件部件。通過逐一檢驗這些部件的工作狀態,可以確定是否存在硬件故障。對于有磨損或損壞的部件,要及時更換,并進行相關測試和校準。
軟件問題也是數控系統故障的常見原因之一。可以利用故障代碼和系統報錯信息進行診斷。針對軟件問題,通常可以通過重新安裝軟件、更新補丁、清除緩存等方式來解決。此外,在故障處理過程中,及時備份關鍵數據非常重要,以免造成數據丟失和系統恢復困難。
對于一些比較復雜的數控系統故障,可能需要借助專門的診斷工具來進行故障分析。例如,使用數控系統故障診斷儀能夠實時監測系統的運行狀態,快速定位故障的原因。此外,還可以通過連接外部設備進行在線測試,進一步分析和修復問題。
維修過程中的記錄和報告非常重要。在解決數控系統故障的過程中,及時記錄和歸檔故障的處理方法、更換的部件以及相關測試結果等信息。這不僅有助于后續的故障追蹤和分析,還可以為未來的故障預防提供有價值的參考。
在維修完成后,進行系統的測試與調試至關重要。通過對系統進行綜合性的功能測試,確保系統各部分工作正常,沒有漏洞和故障。在測試過程中,要注意觀察系統的運行狀況,確認解決方案的有效性。
維修數控系統故障并不是一件簡單的事情,它需要工程師具備扎實的理論知識和豐富的實踐經驗。在故障處理過程中,靈活運用各種維修手段,不斷學習和總結,才能不斷提高維修效率和準確性。
通過本文所介紹的關鍵步驟與技巧,相信您可以更好地應對數控系統故障維修的挑戰。遇到問題時,不要慌張,沉著應對,并尋找最佳的解決方案。
相關推薦