
全國免費客服電話 18268652722 郵箱:www.jungshuodz@163.com
手機:18268652722
電話:18268652722
地址:寧波市北侖區大碶廟前山路45號
人氣:

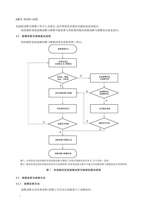
湖州數控系統維修的步驟:
第一步,檢查設備電源是否穩定,并確認所有電纜連接是否牢固。
第二步,使用設備自帶的故障診斷工具進行系統自檢。
第三步,根據故障代碼排查具體故障部件,并進行修復或更換。
常見湖州數控系統故障及解決方法:
故障一,系統無法啟動:
可能原因:電源故障、主板故障。
解決方法:檢查電源線是否插緊,更換電源或主板。
故障二,機床運動不正常:
可能原因:伺服系統故障、導軌損壞等。
解決方法:檢查伺服電機連接及參數設置,檢查導軌并及時潤滑。
故障三,系統運行速度偏慢:
可能原因:軟件配置錯誤、CPU運行占用率過高。
解決方法:檢查軟件設置,降低CPU運行占用率。
湖州數控系統維修保養提示:
1. 定期檢查設備連接線路,確保連接牢固。
2. 定期清潔設備內部,保持散熱良好。
3. 定期更新軟件和固件版本,以獲取最新功能和修復已知問題。
4. 定期檢查伺服系統傳感器,確保其正常工作。
總結:
湖州數控系統維修是確保機床正常運行的重要工作,通過正確的維修步驟和解決方法,能夠及時恢復設備的正常工作。同時,定期保養設備也是必不可少的,能夠延長設備壽命并提高工作效率。
相關推薦